Принципы обустройства гаража
Прежде чем переходить непосредственно к конкретике, рассмотрим основные принципы оборудования мастерской в гараже.
Сделать из обычного гаражного помещения добротную и многофункциональную мастерскую возможно, придерживаясь следующих рекомендаций:
- Организация ремонтной зоны.
В таком месте легко заниматься обслуживанием, осмотром и ремонтном машины. Зону требуется оснастить стеллажами, где хранятся все необходимые инструменты, запасные части и химикаты. - Организация зоны отдыха.
Если в гараже автомобилист проводит достаточно много времени, то ему просто необходим отдых, хотя бы минимальный. Небольшой диванчик, кресло, умывальник – вот тот минимальных набор предметов обихода, которые станут незаменимы, когда захочется передохнуть в процессе работы. - Обеспечение оптимального температурного режима.
Это одно из самых важных условий не только комфортного пребывания самого автомобилиста в помещении, но и для создания максимально подходящих условий хранения автомобиля в гараже. Регулируя уровень влажности в помещении, удастся избежать конденсата, предотвратив, тем самым, коррозию металла. - Соблюдение необходимой дистанции.
Ни в коем случае не рекомендуется чрезмерно уплотнять гаражное помещение. Вокруг автомобиля должно сохраняться достаточно свободного пространства – как минимум по 1 метру с каждой стороны транспортного средства. Это даст возможность беспрепятственно обслуживать машину, пребывая в максимально комфортных условиях. - Организация вентиляционной системы в помещении.
От того, насколько качественно устроена вентиляция в мастерской, зависит и сохранность всего, что в ней имеется, а также эффективность работы. Ведь трудиться в затхлом помещении не так-то уж и просто, не говоря уже о том, что работать в подобных условиях просто неохота. - Ну и стоит позаботиться о внутренней отделке помещения и организации теплоизоляции, что в разы улучшит условиях пребывания в гараже.
Подземные помещения
При планировании постройки ямы нужно помнить несколько правил:
- Подготовка и заливка ямы должна происходить во время закладки фундамента. Вырывать яму в уже построенном гараже либо невозможно, либо неразумно, так как в его основание закладываются твердые материалы, на которых стоит конструкция. Их повреждение может взывать преждевременный наклон строения или даже обвал.
- Размеры ямы должны быть подобраны под рост владельца и размер автомобиля. Это поможет избежать травматизма.
- Пол ямы лучше всего заливать бетоном с примесью щебнем, а стены укладывать кирпичом и заштукатурить. Такие виды работ предупреждают обвал ямы.
- Края ямы укрепить железными углами для поддержания конструкции.
Рекомендуется на дне смотровой ямы создать канализационную лунку для сбора воды, которая может случайным образом попасть вниз. Сделать лунку нужно небольшого размера, чтобы была возможность вычерпать воду самостоятельно. Рекомендуется поставить съемную решетку, для уменьшения риска травм.
В процессе строительства ямы в стенке рекомендуется сделать нишу для инструментов, что повысит уровень комфорта при проведении работ
Особенно важно установить светильник или портативную лампу для освещения. Без света выполнение какой-либо работы станет невозможным
Также нужно позаботиться о способах спуска в яму: это может быть лестница или ступеньки.
Зоны внутри гаража

Планировка пространства делится на две зоны: рабочую и зону отдыха.
Рабочее место

Если гараж используется в основном хозяином мужчиной с слесарной ремонтной направленностью, то рабочее место является главным в гараже.
Его необходимо оборудовать рабочим настенным регулируемым светильником.
Токарный и, точильный станок находятся в этой рабочей зоне.
Тиски и станок — наждак устанавливают здесь же.
Минимум — это металлический или деревянный верстак.
Настенный стенд располагают непосредственно перед рабочей поверхностью.
Рабочие инструменты, находящиеся на стенде, такие как плоскогубцы, молотки, отвертки. гаечные ключи удобно использовать во время работы.
Не обойтись без полочек для хранения всякой всячины для ремонта изделий и вещей.
Полочки вешают прямо перед рабочим пространством и справа на расстоянии вытянутой руки для комфортной лучшей досягаемости.
На открытых полках находятся органайзеры, баночки, коробочки с гайками, шурупами, гвоздями. винтиками.

Скотчи и клеи также размещают на полочках.
На самых верхних полках размещают светодиоды и стеклянные хрупкие предметы, склонные к поломке и повреждению.

В закрытом подвесном шкафчике хранят емкости и бутылки с химическими средствами.
Хорошо. если такой шкафчик весит на определенном расстоянии в недосягаемом месте для детей.
Установите на него замочек или тугую щеколду и будьте спокойны за безопасность.
Зона отдыха
Для тех, кто проводит в гараже много времени и занимается ремонтными бытовыми работами, предусматривают место. где можно отдохнуть и вздремнуть
Зона отдыха располагается ближе к выходу гаража.

Для нее подойдет мягкая мебель или уголок.
Небольшой столик для перекуса во время работы мастера будет хорошим дополнением в этом месте отдыха.
Без освещения здесь также не обойтись.
Для хорошей видимости, чтобы почитать книгу или полистать ленту новостей в телефоне можно повешать лампу или светильник.
Смотровая яма
Смотровая яма не обязательно должна быть в гараже. Если автовладелец предпочитает самостоятельно осматривать и ремонтировать свою машину, он может использовать для этого установленную на улице эстакаду. Если же решено делать смотровую яму нужно учитывать несколько важных условий:
- пол и стены ямы должны быть забетонированы;
- края ее нужно усилить металлическими уголками;
- для удобного расположения инструментов, желательно обустроить в стенках ямы ниши-полки;
- стенки ямы следует утеплить при помощи плит пенополистирола;
- яму нужно закрывать крышкой, верхняя грань которой должна быть в один уровень с полом;
- для сбора попавшей в яму воды следует сделать в ее углу дренажную лунку, и накрыть ее решеткой;
- в яме необходимо установить светильники.
Варианты смотровых ям в гаражах
Шаг первый: определение габаритов
Работы по обустройству смотровой ямы для гаража начинают с её проектирования и расчёта габаритов. Результаты этих работ имеет смысл зафиксировать на бумаге в виде плана гаража и чертежа ямы. Необходимо хорошо продумать, где она будет расположена, как будет въезжать в гараж машина. Требуемые размеры смотровой ямы зависят от ширины и длины автомобиля, размера гаража, а также роста владельца
Важно правильно сделать расчёты, иначе допущенные ошибки обойдутся потом слишком дорого
- Ширину ямы выбирают так, чтобы она была сантиметров на 20 меньше расстояния между колёсами машины, но достаточной, чтобы человеку внутри было просторно работать. При этом, не стоит жёстко ориентироваться на размеры конкретного «железного коня», ведь владелец может со временем купить себе другой автомобиль.
- Длина сооружения определяется из личных предпочтений владельца и размеров гаража. Минимальное её значение равно длине автомобиля + 1 метр. Менее 2 м длиной делать яму не имеет смысла. Следует также учесть место для ступенек или приставной лестницы;
- Глубина ямы должна быть такой, чтобы хозяин автомобиля, работая в ней, мог свободно дотянуться до любого механизма, не нагибаясь и не стоя на цыпочках. Хотя лучше выкопать яму чуть глубже необходимого, чем наоборот. Лишние сантиметры можно убрать за счет толщины пола. Оптимальная глубина равна росту владельца + 15–20 см.
К полученным размерам следует прибавить необходимые припуски с каждой стороны для последующих работ по отделке, гидроизоляции и утеплению. Размеры припусков для стен из кирпича — 12 см, для бетона — по 20 см с каждой стороны. Припуск на пол составляет 20 см. Если предполагается гидроизоляция или утепление ямы, припуски необходимо увеличить.
Если уровень грунтовых вод выше 2,5 м, то яма будет затоплена
Обязательно нужно выяснить, как глубоко располагаются грунтовые воды в почве. Эта информация указывается в отчёте о проведении исследований перед строительством гаража. Уровень залегания грунтовых вод на местности, где располагается гараж, играет очень важную роль. Если он выше 2,5 м, то в уже построенном гараже делать смотровую яму нельзя, т. к. она будет затоплена. В строящемся гараже придется сделать дренажную систему, отводящую излишки воды в канализацию. Если грунтовые воды лежат глубже, никаких противопоказаний к строительству нет.
В нишах можно расположить необходимый для ремонта инструмент
Удобно, когда в стенках смотровой ямы сделаны небольшие ниши. Там обычно располагают необходимый для ремонта автомобиля инструмент. Места под ниши, их размеры следует обдумать заранее и начертить на плане. Глубину ниш обычно делают 15–20 см, длина и ширина определяются по усмотрению хозяина.
Создание полезных приспособлений для гаража своими руками
Чтобы осуществлять ремонтные и сервисные работы, потребуется соорудить смотровую яму в гараже своими руками, размеры которой будут соответствовать габаритам авто, а также верстак для удобной работы, плюс снабдить помещение станками.
Основной набор инструментов и материалов для создания самодельного верстака для гаража включает:
- доски и деревянные бруски;
- крепежные элементы и стяжки;
- рубанок и другие инструменты для обработки дерева;
- лакирующий и столярный клеевые составы;
- наждачную бумагу и олифу.

Пример размещения в гараже полезных приспособлений: 1 — с ручными станками, 2 — стеллажи и шкафы, 3 — стол для проведения различных ремонтных работ, 4 — полка для хранения шин, 5 — смотровая яма
Технология изготовления верстака в гараже своими руками: фото, чертежи
Верстак состоит из столешницы и подстолья, а также нескольких устройств зажимного типа. Высоту верстака в гараже следует подбирать с учетом собственного роста. Можно взять в качестве ориентира высоту кухонного стола в доме, за которым удобно работать. Обязательно составьте для создания чертежи.
Обустройство гаража: как сделать верстак в помещении:
| Этап работы | Детали, размер в см | Тип крепления |
| Сборка столешницы | 20 досок (5х10х200) с пазами 2,5х2,5 в 5-ом и 16-ом элементе (шаг 25) | Клеевой состав металлические стяжки |
| Сушка | — | — |
| Изготовление ножек (4 шт.) | Брусок (10х10х80) с пазами под кронштейны на передних опорах | Кронштейны |
| Сборка основания подстолья | Рамы (2 шт.) из досок (5х10) | Соединение «в шип» на глубину 2,5 см и болты |
| Фиксация боковых и задних опорных стенок | Плиты ДСП (толщина 10 мм) | Шурупы |
| Фиксация столешницы к верхней раме | — | Болты |
Заключительная обработка предполагает пропитку готового изделия олифой и вскрытие лаком.
Рекомендации по созданию смотровой ямы в гараже своими руками
Не существует определенных размеров смотровой ямы в гараже. В качестве основы берутся габариты автомобиля.
Как сделать смотровую яму в гараж с оптимальными параметрами:
- Ширина подбирается с тем расчетом, чтобы внутри было достаточно места для работы. Размер ограничен расстоянием, на которое посажены колеса авто. Каждое колесо нуждается в небольшой площади для выполнения маневров. Средняя ширина ямы составляет 0,8 м.
- Длина ямы ограничивается длиной машины. К этому показателю следует добавить 1 м.
- Для расчета глубины используется рост владельца гаража. К нему прибавляется еще 10-15 см.
Как правильно сделать смотровую яму в гараж с использованием разных материалов:
| Материал | Толщина стенок, см |
| Керамический кирпич | 12-25 |
| Бетон | 15 |
| 20 |
Котлован вырывается с учетом оптимальной ширины ямы, материала, выбранного для стенок, а также толщины гидроизоляционного слоя. Этапы создания ямы:
- разметка;
- строительство котлована;
- обустройство котлована;
- строительство стен;
- прокладка освещения.
Для гидроизоляции стен применяется специализированная гидрофобная пропитка.

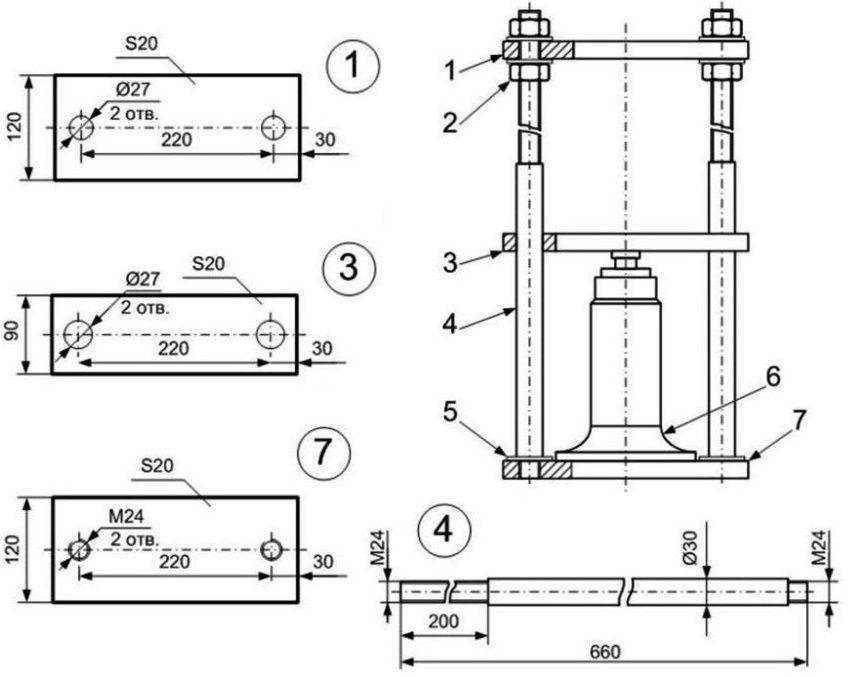
Изготовление пресса для гаража своими руками
Для создания пресса следует изготовить из 4 отрезков металлических труб каркас размером 178х80 см. Эти элементы соединяются методом сварки. В работе рекомендуется руководствоваться чертежами, заранее подобранными или составленными. После этого нужно установить:
- фиксатор;
- съемный упор;
- бутылочный домкрат (гидравлический).
Можно использовать для рассмотрения подробной технологии создания полезных приспособлений для гаража своими руками видео-материалы. Такие наглядные рекомендации помогают сориентироваться в размерах, освоить пошаговые инструкции и представить, какой внешний вид должна иметь готовая конструкция.

Схема изготовления : 1 — верхняя силовая платформа, 2 — гайки, 3 — нижняя платформа, 4 — шпильки диаметром 30 мм, 5 — нижняя резьба шпилек, 6 — гидравлический домкрат бутылочного типа; 7 — основание толщиной 20 мм
Можно сделать собственными руками. На этом список полезных приспособлений не заканчивается. Его всегда можно дополнить любыми интересными идеями. Главное, чтобы гараж полностью соответствовал личным требованиям в отношении комфорта и удобства.
Для рационального использования пространства используются коммуникации и приспособления для гаража своими руками из подручных материалов. Необходимо задействовать в процессе стены, подземный уровень, разместить внутри помещения , организовать нормальное освещение.
Приспособления-самоделки для гаража
Для комфортной эксплуатации помещения, предназначенного для хранения авто, следует придерживаться определенных рекомендаций:
В зависимости от габаритов постройки площадь, занятая оборудованием, приспособлениями, коммуникациями, не должна быть больше 10 – 20% от размеров пола гаража .
С чего начать работы по оформлению?
Чтобы гараж был комфортным, нужно много места. На практике свободного пространства постоянно не хватает
Поэтому важно проработать внутреннее обустройство гаража
Основные моменты планировки:
- Разрабатывается детальный эскиз, проект гаража и предполагаемого внутреннего оборудования. Учитываются точные показатели высоты, ширины и длины.
- Заранее продумывается оптимальная конструкция необходимых стеллажей, шкафов, полок и их будущее расположение. При нехватке площади, рекомендуется использовать навесные системы.
- Определяется подходящее место для размещения машины, так, чтобы оставалось достаточно пространства для обслуживания транспорта и передвижения.
- Тип ворот имеет особое значение. Конструкция должна быть такой, чтобы в моменты открывания исключалась вероятность повреждения корпуса машины.
- Разработка дизайна, подбор материалов определяет внешний облик гаража, уровень комфорта.
Тонкости самостоятельно оформления
Оборудование гаражного помещения требует установки шкафов, полочек, стеллажей. Они выполняются полностью металлическими. В комбинированных моделях используется дерево, пластик и металл.
Для работы потребуется:
- металлический профиль, уголки, иные комплектующие;
- деревянные доски для обшивки конструкций, выполнения полочек;
- инструмент для сборки.
В зависимости от типа конструкции и сборки, полки и стеллажи делают:
- Передвижными. Системы привлекают компактностью, мобильностью. Они рассчитываются на размещение небольших предметов, легких инструментов.
- Подвесными. Подобные экземпляры крепятся под потолком, занимая совсем немного полезной площади. Лучшее решение для маленького пространства.
- Стационарные. Надежные модели, устанавливающиеся раз в процессе обустройства. Предназначаются для хранения тяжелого инструмента.
Внутреннее обустройство предполагает и работу со стенами, потолком.
Пол традиционно выполняется бетонным, так как материал отличается долговечностью, износостойкостью.
Важные моменты устройства смотровой ямы
Яма – важная часть гаража. Необходимость ее устройства определяется индивидуально. Все зависит от того, предполагается ли самостоятельное восстановление авто, возведена ли эстакада на улице.
Внимания требует:
- необходимость бетонирования днища и боковых стенок;
- укрепление угловых элементов ямы, подходит установка металлических углов;
- перекрытие, часто выполняющееся из деревянных досок;
- выполнение дренажной лунки для сбора воды, попавшей вниз;
- освещение, обеспечивающее обзор и подсветку при выполнении ремонтных работ;
- ниши для инструмента, деталей;
Ремонт гаража на даче
Ремонт необходим каждой постройке и каждый год. Пускай и не капитальный, но частичный или косметический, который способен продлить сроки эксплуатации (более подробная информация по ремонту здесь). Поэтому производим тщательный и очень внимательный осмотр, выявляем все трещины, сколы, дырки между стенами и перекрытием, ведь все это принесет проблемы в ближайшем будущем. Конечно, следующий этап утепления гаража можно было бы поставить на замену ремонту, и тем же пенопластом просто скрыть трещины в стенах, но ведь мы делаем качественное рабочее место для себя, а также не хотим потерять постройку в ближайшее время.
Произведя осмотр, приступаем к ремонту. Описывать все возможные процессы, пожалуй, не стоит, так как мы уже говорили не только о растворах и сухих смесях, но и о том, как ними пользоваться, замазывали трещины и решали проблемы с герметизацией, выполняли гидроизоляцию и прочие необходимые работы. Поэтому просто стараемся быстро привести в порядок наш гараж, не оставляя проблемам шансов на развитие в ближайшем будущем.
Обязательно провести хотя бы минимальные ремонтные работы в дачном гараже
Организация пространства в гараже для мест хранения (с фото)
Существует множество способов организации пространства в гараже, например, закрепите на стене доску с отверстиями и штырями, чтобы все аккуратно развесить. Для придания более законченного вида можете добавить цвет. Для хранения небольших вещей в гараже используйте обычные банки — они идеально подходят для болтов, гвоздей и прочих мелочей. Веревки и шнуры храните в тех же банках, пропустив конец в отверстие на крышке. Никаких пределов для фантазии! А прозрачные коробки помогут хранить инструменты вроде запасных лезвий и т.п.
В гараже зачастую хранятся канистры с легковоспламеняющимися материалами и острые инструменты, которым нет места в доме
Убедитесь, что вы приняли все необходимые меры предосторожности при организации места в гараже:
- Надевайте защитную экипировку (перчатки, прочную обувь на толстой подошве, защитные очки и т.п.) при работе с электроприборами.
- Убедитесь, что надежно закрепили полки и стеллажи, чтобы избежать несчастных случаев и ранений.
- Храните горючие вещества и химикаты согласно правилам. Тщательно изучите инструкции на этикетках и храните их в оригинальных контейнерах.
- Химикаты и краски держите подальше от детей.
- Храните острые предметы вдали от детей.
- Всегда держите в гараже рабочий огнетушитель. Отметьте в календаре дату окончания срока его хранения, чтобы вовремя купить новый.
Гараж отлично подходит не только для инструментов и автомобильных вещей, но и для того, чтобы хранить в нем сезонные предметы: спортивный инвентарь, принадлежности для пикников и походов, садовые инструменты и все, что нужно убрать подальше на длительный период времени.
Большие мешки корма для ваших питомцев, принадлежности для купания и переноски ставьте на хранение в гараже так, чтобы до них было легко добраться, но, чтобы они не стояли на пути. Если вы купаете собаку в детском бассейне, используйте его в «нерабочее» время в качестве огромной коробки для хранения.
Посмотрите, как можно организовать хранение в гараже на фото, иллюстрирующих все предложенные выше на станице идеи:
Как обустроить гараж внутри своими руками

Самое время перейти к внутреннему обустройству гаража. Что сюда входит? Это разнообразные полки, стеллажи и подставки, а также ряд специализированного оборудования. Порядок в мастерской позволит быстро и легко находить любой инструмент и детали. Во многом добиться этого позволяют объекты для хранения вещей. Сюда входят:
Стеллажи – специальные металлические или пластиковые конструкции, которые представляют собой многоуровневый открытый шкаф без дверей и с множеством полочек
Обращайте внимание на расстояние между полками и их ширину. Стеллажи позволяют компактно хранить фактически любые вещи.
Полки для гаража – это навесные конструкции, которые крепятся к стене при помощи монтажных элементов (шурупов, саморезов и тому подобное). Главное преимущество в том, что они компактнее стеллажей, при этом их можно сделать своими руками
Можно также изготовить. Сделайте специальные полки с отверстиями, в которые будут вставляться разнообразные ключи, отвертки и другой инструмент.
Специальные щитки. Это также навесные изделия, которые в своей конструкции имеют несколько крючков. На них можно вешать рабочую одежду, головные уборы, садовый инструмент или любой другой объект, который можно закрепить на крючок.
Главное преимущество в том, что они компактнее стеллажей, при этом их можно сделать своими руками. Можно также изготовить. Сделайте специальные полки с отверстиями, в которые будут вставляться разнообразные ключи, отвертки и другой инструмент.
Специальные щитки. Это также навесные изделия, которые в своей конструкции имеют несколько крючков. На них можно вешать рабочую одежду, головные уборы, садовый инструмент или любой другой объект, который можно закрепить на крючок.
Один из самых популярных вопросов – как установить стеллажи и полки? Стеллажи рекомендуется устанавливать вдоль стенок, чтобы они не мешали передвижению по гаражу и всегда были доступны. Полки можно повесить фактически в любом месте. Наиболее компактными будут угловые полки. Для редко используемых вещей можно расположить полки под самым потолком. Здесь необходимо убедиться в их прочности, чтобы все вещи не свалились вам на голову или на автомобиль.
Отдельным вариантом является специализированная мебель для гаража. Она чем-то напоминает обычную кухонную мебель: имеется стол с многочисленными ящиками, навесные отделения, разнообразные пеналы и шкафы. Это самый дорогой, но в тоже время практичный вариант. Такой комплект позволит без труда компактно разместить любые вещи в вашем гараже, начиная от инструмента и заканчивая крупногабаритными объектами.









